elektrony
Moderátoři: intel_sk, peta.smolik, mad mike, Matto, Katy
- Reklama
Re: elektrony
Ahoj ,
záleží na ET kola ale nevidím problém v 6x14 já osobně bych dal větší
záleží na ET kola ale nevidím problém v 6x14 já osobně bych dal větší
Re: elektrony
Přemýšlím taky nad podobným problémem. Pokukoval jsem po netu po elektronech a našel jsem nějaké co by mému stříbrnému puntíkovi slušely
Problém je však s ET.. Myslím že originální elektrony na punto mají ET 35. Tyto mají 28 a tím pádem by měly být trošku vystrčeny směrem ven od podběhu. Chtěl bych se zeptat jestli máte někdo elektrony s nižším ET a jak vám v podběhu sedí, případně jestli někde nebrousí? Předpokládejme, že by na nich seděly pneu 195/50 R15
Tady jsou obrázky s těmi elektrony

DEZENT N 6,5x15" 4x98 ET28 , AEZ XYLO 6,5x15" 4x98 ET28
Tady jsou obrázky s těmi elektrony

DEZENT N 6,5x15" 4x98 ET28 , AEZ XYLO 6,5x15" 4x98 ET28
FIAT Punto II 1.8 HGT 16V
-
xeromax
- Všeználek
- Příspěvky: 1525
- Registrován: 13 srp 2008, 18:02
- Bydliště: Banská Bystrica
- Kontaktovat uživatele:
Re: elektrony
ja mam pneu 195/45, 15" disky s ET35, a myslim ze 1cm podložka sa tam vojde v pohode, takze tých 7mm by nemal byt strasný problem
PS: AEZ sa mi pacia viac
PS: AEZ sa mi pacia viac
FIAT PUNTO II 1.2 8V 44kW EL
2009 -- 129,6dB
2010 -- 133,5dB
http://fotoalbumy.azet.sk/xeromax/my-punto/
http://www.xtuning.tk
2009 -- 129,6dB
2010 -- 133,5dB
http://fotoalbumy.azet.sk/xeromax/my-punto/
http://www.xtuning.tk
- Palis
- Znalec
- Příspěvky: 953
- Registrován: 11 srp 2009, 12:03
- Bydliště: Bučany /okr. Trnava
- Kontaktovat uživatele:
Re: elektrony
ja mam tiez otazku v technickom mam ze mozem dat rozmer 195/45 R15 a disk 6J x15 ET 37
a ja chcem dat diks 6,5J x15 ET 35
chcem sa spytat ci nevadi ze disk je o pol palca sirsi a este nesedi to ET cislo porradi mi niekto???
a ja chcem dat diks 6,5J x15 ET 35
chcem sa spytat ci nevadi ze disk je o pol palca sirsi a este nesedi to ET cislo porradi mi niekto???
Punto Mk2 1.2 8V r.v 2003
http://palis-tt.rajce.idnes.cz/" onclick="window.open(this.href);return false;
http://palis-tt.rajce.idnes.cz/" onclick="window.open(this.href);return false;
-
xeromax
- Všeználek
- Příspěvky: 1525
- Registrován: 13 srp 2008, 18:02
- Bydliště: Banská Bystrica
- Kontaktovat uživatele:
Re: elektrony
ak to nevadi tebe tak nie, policajti to nekotroluju, pozrie rozmer pneu, sirka disku ani ET ich velmi nezaujima
FIAT PUNTO II 1.2 8V 44kW EL
2009 -- 129,6dB
2010 -- 133,5dB
http://fotoalbumy.azet.sk/xeromax/my-punto/
http://www.xtuning.tk
2009 -- 129,6dB
2010 -- 133,5dB
http://fotoalbumy.azet.sk/xeromax/my-punto/
http://www.xtuning.tk
- Palis
- Znalec
- Příspěvky: 953
- Registrován: 11 srp 2009, 12:03
- Bydliště: Bučany /okr. Trnava
- Kontaktovat uživatele:
Re: elektrony
tak mne to az tak envadi len som teda nevedel ci to nebude vadit auto alebo zelenim
Punto Mk2 1.2 8V r.v 2003
http://palis-tt.rajce.idnes.cz/" onclick="window.open(this.href);return false;
http://palis-tt.rajce.idnes.cz/" onclick="window.open(this.href);return false;
-
xeromax
- Všeználek
- Příspěvky: 1525
- Registrován: 13 srp 2008, 18:02
- Bydliště: Banská Bystrica
- Kontaktovat uživatele:
Re: elektrony
autu to takisto vadit nebude akurat budes mat disk o 2mm viacej vo vnutri ako pri ET35
FIAT PUNTO II 1.2 8V 44kW EL
2009 -- 129,6dB
2010 -- 133,5dB
http://fotoalbumy.azet.sk/xeromax/my-punto/
http://www.xtuning.tk
2009 -- 129,6dB
2010 -- 133,5dB
http://fotoalbumy.azet.sk/xeromax/my-punto/
http://www.xtuning.tk
- Palis
- Znalec
- Příspěvky: 953
- Registrován: 11 srp 2009, 12:03
- Bydliště: Bučany /okr. Trnava
- Kontaktovat uživatele:
Re: elektrony
o 2mm vacej??asik si si to zle kukol lebo ja chcem dat 35ET ale mozem tam mat 37 takze o 2mm menej ci nie??
Punto Mk2 1.2 8V r.v 2003
http://palis-tt.rajce.idnes.cz/" onclick="window.open(this.href);return false;
http://palis-tt.rajce.idnes.cz/" onclick="window.open(this.href);return false;
Re: elektrony
To ET35 znamená, že budeš mít disk od 2mm víc posunutý ven od podélné osy auta než u ET37Palis píše:o 2mm vacej??asik si si to zle kukol lebo ja chcem dat 35ET ale mozem tam mat 37 takze o 2mm menej ci nie??
FIAT Punto II 1.8 HGT 16V
-
xeromax
- Všeználek
- Příspěvky: 1525
- Registrován: 13 srp 2008, 18:02
- Bydliště: Banská Bystrica
- Kontaktovat uživatele:
Re: elektrony
jj zle som to pozrel, tak bude o 2mm viacej von ako pri ET37
FIAT PUNTO II 1.2 8V 44kW EL
2009 -- 129,6dB
2010 -- 133,5dB
http://fotoalbumy.azet.sk/xeromax/my-punto/
http://www.xtuning.tk
2009 -- 129,6dB
2010 -- 133,5dB
http://fotoalbumy.azet.sk/xeromax/my-punto/
http://www.xtuning.tk
- HIISS
- Všeználek
- Příspěvky: 1796
- Registrován: 25 úno 2009, 23:25
- Bydliště: Košice okolie-Čaňa
- Kontaktovat uživatele:
Re: elektrony
A ake ET je podla vas najlepsie,respektive? vzdy mensie ci vacsie radsej? lebo mam podany inzerat na predaj svojich kol 185/60 R14,a planujem ak sa podari kupu 195/50 R15,a kedze rozhliadam sa po diskoch tak tiez som si vsimol to ET,cital som uz co ste pisali tuna onom,no az tak nemam jasne,nasiel som napr: disky RSW 242 15´ 4x100 ktore maju ET 35
http://www.autoveci.sk/rsw-242-65x15-4x ... -2133.html" onclick="window.open(this.href);return false;
a potom na jednej stranke repliku podla nich robene disky ktore maju ET 38
http://www.miral.sk/product/miral-star-484/" onclick="window.open(this.href);return false;
Ktore by podla vas vyzerali krajsie,? alebo nejake ich vyhody-nevyhody..pri tych ET..dakujem
http://www.autoveci.sk/rsw-242-65x15-4x ... -2133.html" onclick="window.open(this.href);return false;
a potom na jednej stranke repliku podla nich robene disky ktore maju ET 38
http://www.miral.sk/product/miral-star-484/" onclick="window.open(this.href);return false;
Ktore by podla vas vyzerali krajsie,? alebo nejake ich vyhody-nevyhody..pri tych ET..dakujem
- Toti
- Znalec
- Příspěvky: 790
- Registrován: 13 čer 2009, 09:21
- Bydliště: SR->Nitra->velke ale male mesto
- Kontaktovat uživatele:
Re: elektrony
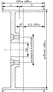
2 HIISS ET máš vysunutie disku, čiže tá dosadacia plocha na disku čo dosadne na náboj je vysunutá smerom von od stredu disku o rozmer ET. Keby máš ET 0 tak by bola tá plocha presne v strede disku. To znamená že čím menšie ET tým viac budu kolesá trčať. Ja mám disky 7x15 a ET 35 a sú zarovno s blatnikmi. Ale keby máš napríklad ET 20 tak by boli ešte o 15mm viac von čiže už by možno trocha pretŕčali. Tu máš obrázok pre predstavu ako to vyzerá.
- Přílohy
-
- rozmery disku.jpg (21.94 KiB) Zobrazeno 5395 x
Train horn in car ? ...why not ! :D
momentálne Alfa 166 2,4JTD ...EGR off, KAT off
ex : špunt mk1 SX 1,7TD, alfa 156 2,4JTD, špunt mk2b 1,3JTD sporting, špunt mk1 ELX 1,7TD
momentálne Alfa 166 2,4JTD ...EGR off, KAT off
ex : špunt mk1 SX 1,7TD, alfa 156 2,4JTD, špunt mk2b 1,3JTD sporting, špunt mk1 ELX 1,7TD
- HIISS
- Všeználek
- Příspěvky: 1796
- Registrován: 25 úno 2009, 23:25
- Bydliště: Košice okolie-Čaňa
- Kontaktovat uživatele:
Re: elektrony
Jasne chapem uz
..dikes 
